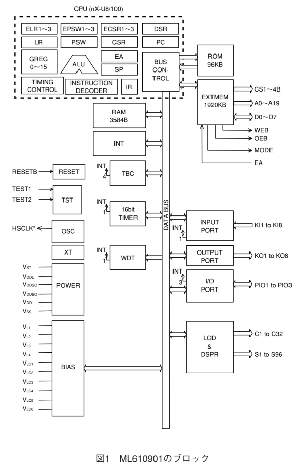
ml610901
ML610901
Found in ES series
| PIN | NAME |
|---|---|
| 1 | VLC6 (LCD Bias) |
| 2 | VLC5 (LCD Bias) |
| 3 | VLC4 (LCD Bias) |
| 4 | VLC3 (LCD Bias) |
| 5 | VLC2 (LCD Bias) |
| 6 | VLC1 (LCD Bias) |
| 7 | VL1- / GND* |
| 8 | VL1+ |
| 9 | Solar Panel SP+ |
| 10 | Battery BT+ / Vdd |
| 11 | Vss (GND)* |
| 12 | Vss (GND)* |
| 13 | Vss (GND)* |
| 14 | LCD |
| 15 | LCD |
| 16 | LCD |
| 17 | LCD |
| 18 | LCD |
| 19 | LCD |
| 20 | LCD |
| 21 | LCD |
| 22 | LCD |
| 23 | LCD |
| 24 | LCD |
| 25 | LCD |
| 26 | LCD |
| 27 | LCD |
| 28 | LCD |
| 29 | LCD |
| 30 | LCD |
| 31 | LCD |
| 32 | LCD |
| 33 | LCD |
| 34 | LCD |
| 35 | LCD |
| 36 | LCD |
| 37 | LCD |
| 38 | LCD |
| 39 | LCD |
| 40 | LCD |
| 41 | LCD |
| 42 | LCD |
| 43 | LCD |
| 44 | LCD |
| 45 | LCD |
| 46 | LCD |
| 47 | LCD |
| 48 | LCD |
| 49 | LCD |
| 50 | LCD |
| 51 | LCD |
| 52 | LCD |
| 53 | LCD |
| 54 | LCD |
| 55 | LCD |
| 56 | LCD |
| 57 | LCD |
| 58 | LCD |
| 59 | LCD |
| 60 | LCD |
| 61 | LCD |
| 62 | LCD |
| 63 | LCD |
| 64 | LCD |
| 65 | LCD |
| 66 | LCD |
| 67 | LCD |
| 68 | LCD |
| 69 | LCD |
| 70 | LCD |
| 71 | LCD |
| 72 | LCD |
| 73 | LCD |
| 74 | LCD |
| 75 | LCD |
| 76 | LCD |
| 77 | LCD |
| 78 | LCD |
| 79 | LCD |
| 80 | LCD |
| 81 | LCD |
| 82 | LCD |
| 83 | LCD |
| 84 | LCD |
| 85 | LCD |
| 86 | LCD |
| 87 | LCD |
| 88 | LCD |
| 89 | LCD |
| 90 | LCD |
| 91 | LCD |
| 92 | LCD |
| 93 | LCD |
| 94 | LCD |
| 95 | LCD |
| 96 | LCD |
| 97 | LCD |
| 98 | LCD |
| 99 | LCD |
| 100 | LCD |
| 101 | LCD |
| 102 | LCD |
| 103 | LCD |
| 104 | LCD |
| 105 | LCD |
| 106 | LCD |
| 107 | LCD |
| 108 | LCD |
| 109 | LCD |
| 110 | LCD |
| 111 | LCD |
| 112 | LCD |
| 113 | LCD |
| 114 | LCD |
| 115 | LCD |
| 116 | LCD |
| 117 | LCD |
| 118 | LCD |
| 119 | LCD |
| 120 | LCD |
| 121 | LCD |
| 122 | LCD |
| 123 | LCD |
| 124 | LCD |
| 125 | LCD |
| 126 | LCD |
| 127 | LCD |
| 128 | LCD |
| 129 | LCD |
| 130 | LCD |
| 131 | LCD |
| 132 | LCD |
| 133 | LCD |
| 134 | LCD |
| 135 | LCD |
| 136 | LCD |
| 137 | LCD |
| 138 | LCD |
| 139 | LCD |
| 140 | LCD |
| 141 | LCD |
| 142 | Vss(GND)/Vss(GND)* |
| 143 | RESETB (Power button) |
| 144 | KI8 |
| 145 | KI7 |
| 146 | KI6 |
| 147 | KI5 |
| 148 | KI4 |
| 149 | KI3 |
| 150 | KI2 |
| 151 | KI1 |
| 152 | KO8 |
| 153 | KO7 |
| 154 | KO6 |
| 155 | KO5 |
| 156 | KO4 |
| 157 | KO3 |
| 158 | KO2 |
| 159 | KO1 |
| 160 | - |
| 161 | - |
| 162 | - |
| 163 | - |
| 164 | - |
| 165 | - |
| 166 | - |
| 167 | - |
| 168 | - |
| 169 | - |
| 170 | - |
| 171 | - |
| 172 | - |
| 173 | - |
| 174 | - |
| 175 | - |
| 176 | - |
| 177 | - |
| 178 | - |
| 179 | - |
| 180 | - |
| 181 | - |
| 182 | - |
| 183 | - |
| 184 | - |
| 185 | P7 (removed in rev B) |
| 186 | P6 (removed in rev B) |
| 187 | P5 (removed in rev B) |
| 188 | P4 (removed in rev B) |
| 189 | P3 (removed in rev B) |
| 190 | P2 (removed in rev B) |
| 191 | P1 (removed in rev B) |
| 192 | P0 |
| 193 | CMODE |
| 194 | - |
| 195 | T101 - RESET_N |
| 196 | T102 - TEST0 |
| 197 | T103 - TEST1_N |
| 198 | Bridged with PIN6* |
| 199 | VL2 (LCD Bias) |
| 200 | VL2 (LCD Bias) |
| 201 | VL3 (LCD Bias) |
| 202 | VL3 (LCD Bias) |
| 203 | VL4 (LCD Bias) |
| 204 | VL4 (LCD Bias) |
* - connected under epoxy blob
ml610901.txt · Last modified: 2024/07/15 18:50 by cfx



